Your dashboard services.
Register to access all tools.

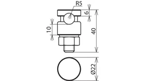
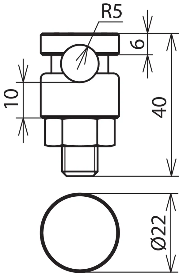
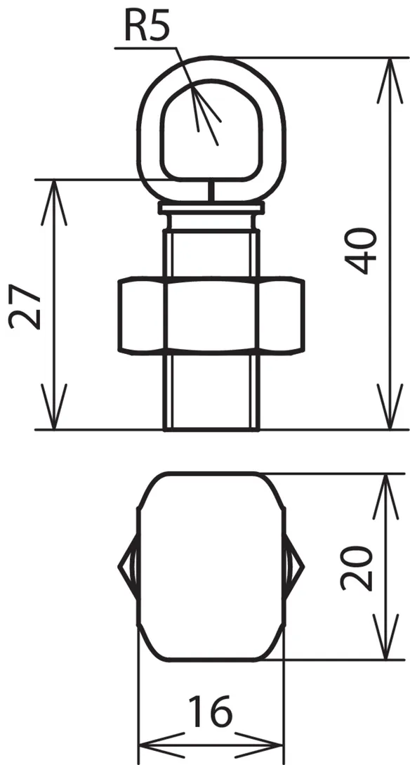
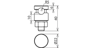
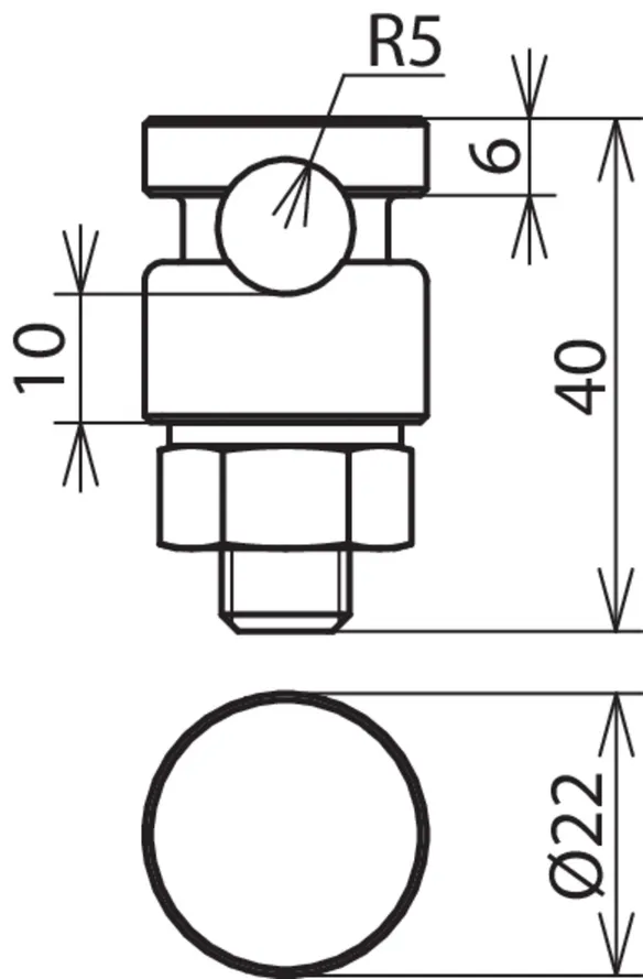
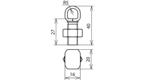
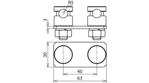
Łączniki KS

Łączniki KS do obciążalnego prądem piorunowym podłączania drutów okrągłych, np. do profili płaskich, obejm do rur spustowych lub innych elementów instalacji odgromowej.

Jednoczęściowy, stal ocynkowana ogniowo

Ze śrubą i nakrętką M10.

2 Produkty

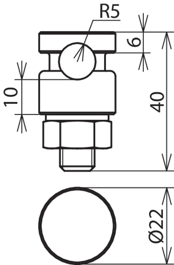
Nr kat. 301000 KSV 7.10 STTZN

GTIN / EAN 4013364067035, Nr taryfy celnej (EU): 85359000, Waga brutto: 62.00 g, Jednostka opakowaniowa: 100.00 szt.


Rysunki

Informacje dodatkowe

Łącznik KS, jednoczęściowy, stal HDG
Łącznik KS do podłączania do profili płaskich
Materiał śruby zaciskowej: St/tZn
Materiał zacisku: odlew ciśnieniowy cynku
Zakres zacisku (drut): 7-10 mm
Spełnia wymagania normy: DIN EN 62561-1

Producent: DEHN
Typ: KSV 7.10 STTZN
Nr kat.: 301000
lub podobny.

Certyfikaty

 

Dane techniczne

Materiał śruby zaciskowej St/tZn
Materiał zacisku odlew ciśnieniowy cynku
Zakres zacisku (drut) 7-10 mm
Spełnia wymagania normy DIN EN 62561-1
*) Dokładne przyporządkowanie znajduje się w certyfikacie testu.

Produkt 301000 został dodany do notatnika.

Do koszyka dodano produkt 301000.

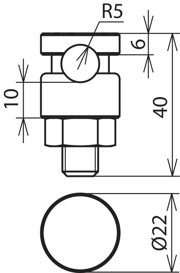
Nr kat. 301010 KSV 7.10 FER STTZN

GTIN / EAN 4013364067028, Nr taryfy celnej (EU): 85359000, Waga brutto: 62.00 g, Jednostka opakowaniowa: 100.00 szt.


Rysunki

Informacje dodatkowe

Łącznik KS, jednoczęściowy, stal HDG
Łącznik KS do podłączania do profili płaskich
Materiał śruby zaciskowej: St/tZn
Materiał zacisku: odlew ciśnieniowy cynku
Zakres zacisku (drut): 7-10 mm
Typ: + podkładka sprężysta
Spełnia wymagania normy: DIN EN 62561-1

Producent: DEHN
Typ: KSV 7.10 FER STTZN
Nr kat.: 301010
lub podobny.

Certyfikaty

 

Dane techniczne

Materiał śruby zaciskowej St/tZn
Materiał zacisku odlew ciśnieniowy cynku
Zakres zacisku (drut) 7-10 mm
Typ + podkładka sprężysta
Spełnia wymagania normy DIN EN 62561-1
*) Dokładne przyporządkowanie znajduje się w certyfikacie testu.

Produkt 301010 został dodany do notatnika.

Do koszyka dodano produkt 301010.


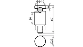
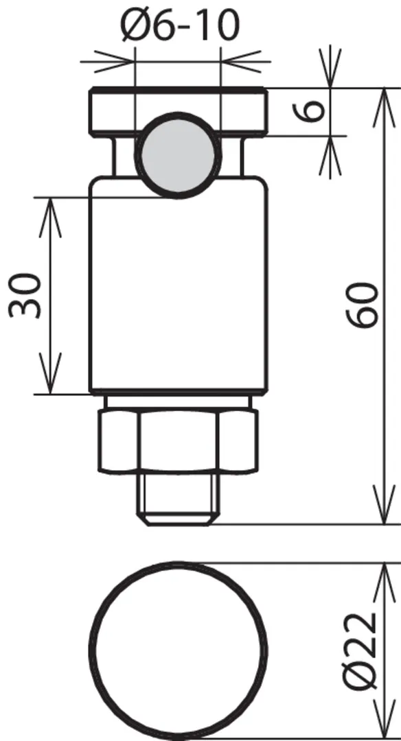
Jednoczęściowy, miedź

Ze śrubą i nakrętką M10.

3 Produkty

Nr kat. 301007 KSV 6.10 CU

GTIN / EAN 4013364021358, Nr taryfy celnej (EU): 85359000, Waga brutto: 76.00 g, Jednostka opakowaniowa: 100.00 szt.


Rysunki

Informacje dodatkowe

Łącznik KS, jednoczęściowy, miedź
Łącznik KS do podłączania do profili płaskich
Materiał śruby zaciskowej: Cu
Materiał zacisku: brąz
Zakres zacisku (drut): 6-10 mm
Spełnia wymagania normy: DIN EN 62561-1

Producent: DEHN
Typ: KSV 6.10 CU
Nr kat.: 301007
lub podobny.

Certyfikaty

 

Dane techniczne

Materiał śruby zaciskowej Cu
Materiał zacisku brąz
Zakres zacisku (drut) 6-10 mm
Przyłączenie (drut / linka) 16-50 mm2
Spełnia wymagania normy DIN EN 62561-1
*) Dokładne przyporządkowanie znajduje się w certyfikacie testu.

Produkt 301007 został dodany do notatnika.

Do koszyka dodano produkt 301007.

Nr kat. 301017 KSV 6.10 FER CU

GTIN / EAN 4013364053502, Nr taryfy celnej (EU): 85359000, Waga brutto: 79.60 g, Jednostka opakowaniowa: 100.00 szt.


Rysunki

Informacje dodatkowe

Łącznik KS, jednoczęściowy, miedź
Łącznik KS do podłączania do profili płaskich
Materiał śruby zaciskowej: Cu
Materiał zacisku: brąz
Zakres zacisku (drut): 6-10 mm
Typ: + podkładka sprężysta
Spełnia wymagania normy: DIN EN 62561-1

Producent: DEHN
Typ: KSV 6.10 FER CU
Nr kat.: 301017
lub podobny.

Certyfikaty

 

Dane techniczne

Materiał śruby zaciskowej Cu
Materiał zacisku brąz
Zakres zacisku (drut) 6-10 mm
Przyłączenie (drut / linka) 25-70 mm2
Typ + podkładka sprężysta
Spełnia wymagania normy DIN EN 62561-1
*) Dokładne przyporządkowanie znajduje się w certyfikacie testu.

Produkt 301017 został dodany do notatnika.

Do koszyka dodano produkt 301017.

Nr kat. 300027 KSV 200 13 FER CU

GTIN / EAN 4013364520998, Nr taryfy celnej (EU): 85359000, Waga brutto: 125.50 g, Jednostka opakowaniowa: 10.00 szt.


Rysunki

Informacje dodatkowe

Łącznik KS, jednoczęściowy, miedź
Łączniki KS do podłączania
drutów okrągłych lub przewodów
np. na profilach płaskich lub innych
częściach instalacji ochrony odgromowej
Materiał śruby zaciskowej: Cu
Materiał zacisku: Miedź
Zakres zacisku (drut): 6-13 mm
Typ: + podkładka zabezpieczająca połączenie klinowe
Spełnia wymagania normy: DIN EN 62561-1

Producent: DEHN
Typ: KSV 200 13 FER CU
Nr kat.: 300027
lub podobny.

 

Dane techniczne

Materiał śruby zaciskowej Cu
Materiał zacisku Miedź
Zakres zacisku (drut) 6-13 mm
Przyłączenie (drut / linka) 16-108 mm2
Typ + podkładka zabezpieczająca połączenie klinowe
Spełnia wymagania normy DIN EN 62561-1
*) Dokładne przyporządkowanie znajduje się w certyfikacie testu.

Produkt 300027 został dodany do notatnika.

Do koszyka dodano produkt 300027.


Jednoczęściowy, stal nierdzewna

Ze śrubą i nakrętką M10.

7 Produkty

Nr kat. 301009 KSV 6.10 V2A

GTIN / EAN 4013364081284, Nr taryfy celnej (EU): 85359000, Waga brutto: 61.80 g, Jednostka opakowaniowa: 100.00 szt.


Rysunki

Informacje dodatkowe

Łącznik KS, jednoczęściowy, stal nierdzewna
Łącznik KS do podłączania do profili płaskich
Materiał śruby zaciskowej: stal nierdzewna
Materiał zacisku: stal nierdzewna
Zakres zacisku (drut): 6-10 mm
Spełnia wymagania normy: DIN EN 62561-1

Producent: DEHN
Typ: KSV 6.10 V2A
Nr kat.: 301009
lub podobny.

Certyfikaty

 

Dane techniczne

Materiał śruby zaciskowej stal nierdzewna
Materiał zacisku stal nierdzewna
Zakres zacisku (drut) 6-10 mm
Przyłączenie (drut / linka) 25-70 mm2
Spełnia wymagania normy DIN EN 62561-1
*) Dokładne przyporządkowanie znajduje się w certyfikacie testu.

Produkt 301009 został dodany do notatnika.

Do koszyka dodano produkt 301009.

Nr kat. 301089 KSV 6.10 V4A

GTIN / EAN 4013364304161, Nr taryfy celnej (EU): 85359000, Waga brutto: 63.00 g, Jednostka opakowaniowa: 100.00 szt.


Rysunki

Informacje dodatkowe

Łącznik KS, jednoczęściowy, stal nierdzewna (V4A)
Łącznik KS do podłączania do profili płaskich
Materiał śruby zaciskowej: stal nierdz. (V4A)
Materiał zacisku: stal nierdz. (V4A)
Zakres zacisku (drut): 6-10 mm
Spełnia wymagania normy: DIN EN 62561-1

Producent: DEHN
Typ: KSV 6.10 V4A
Nr kat.: 301089
lub podobny.

Certyfikaty

 

Dane techniczne

Materiał śruby zaciskowej stal nierdz. (V4A)
Materiał zacisku stal nierdz. (V4A)
Nr materiału 1.4571 / 1.4404 / 1.4401
Zakres zacisku (drut) 6-10 mm
Przyłączenie (drut / linka) 25-70 mm2
Spełnia wymagania normy DIN EN 62561-1
*) Dokładne przyporządkowanie znajduje się w certyfikacie testu.

Produkt 301089 został dodany do notatnika.

Do koszyka dodano produkt 301089.

Nr kat. 301019 KSV 6.10 FER V2A

GTIN / EAN 4013364081277, Nr taryfy celnej (EU): 85359000, Waga brutto: 63.80 g, Jednostka opakowaniowa: 100.00 szt.


Rysunki

Informacje dodatkowe

Łącznik KS, jednoczęściowy, stal nierdzewna
Łączniki KS do podłączania drutów okrągłych
np. do profili płaskich lub
innych elementów instalacji odgromowej.
Materiał śruby zaciskowej: stal nierdzewna
Materiał zacisku: stal nierdzewna
Zakres zacisku (drut): 6-10 mm
Typ: + podkładka sprężysta
Spełnia wymagania normy: DIN EN 62561-1

Producent: DEHN
Typ: KSV 6.10 FER V2A
Nr kat.: 301019
lub podobny.

Certyfikaty

 

Dane techniczne

Materiał śruby zaciskowej stal nierdzewna
Materiał zacisku stal nierdzewna
Zakres zacisku (drut) 6-10 mm
Przyłączenie (drut / linka) 25-70 mm2
Typ + podkładka sprężysta
Spełnia wymagania normy DIN EN 62561-1
*) Dokładne przyporządkowanie znajduje się w certyfikacie testu.

Produkt 301019 został dodany do notatnika.

Do koszyka dodano produkt 301019.

Nr kat. 300029 KSV 200 13 FER V2A

GTIN / EAN 4013364521001, Nr taryfy celnej (EU): 85359000, Waga brutto: 106.50 g, Jednostka opakowaniowa: 10.00 szt.


Rysunki

Informacje dodatkowe

Łącznik KS, jednoczęściowy, stal nierdzewna
Łączniki KS do podłączania
drutów okrągłych lub przewodów
np. na profilach płaskich lub innych
częściach instalacji ochrony odgromowej

Materiał śruby zaciskowej: stal nierdzewna
Materiał zacisku: stal nierdzewna
Zakres zacisku (drut): 6-13 mm
Typ: + podkładka sprężysta
Spełnia wymagania normy: DIN EN 62561-1

Producent: DEHN
Typ: KSV 200 13 FER V2A
Nr kat.: 300029
lub podobny.

 

Dane techniczne

Materiał śruby zaciskowej stal nierdzewna
Materiał zacisku stal nierdzewna
Zakres zacisku (drut) 6-13 mm
Przyłączenie (drut / linka) 16-108 mm² / 4-16 mm2
Typ + podkładka sprężysta
Spełnia wymagania normy DIN EN 62561-1
*) Dokładne przyporządkowanie znajduje się w certyfikacie testu.

Produkt 300029 został dodany do notatnika.

Do koszyka dodano produkt 300029.

Nr kat. 301099 KSV 6.10 FER V4A

GTIN / EAN 4013364304178, Nr taryfy celnej (EU): 85359000, Waga brutto: 65.00 g, Jednostka opakowaniowa: 100.00 szt.


Rysunki

Informacje dodatkowe

Łącznik KS, jednoczęściowy, stal nierdzewna (V4A)
Łącznik KS do podłączania do profili płaskich
Materiał śruby zaciskowej: stal nierdz. (V4A)
Materiał zacisku: stal nierdz. (V4A)
Zakres zacisku (drut): 6-10 mm
Typ: + podkładka sprężysta
Spełnia wymagania normy: DIN EN 62561-1

Producent: DEHN
Typ: KSV 6.10 FER V4A
Nr kat.: 301099
lub podobny.

Certyfikaty

 

Dane techniczne

Materiał śruby zaciskowej stal nierdz. (V4A)
Materiał zacisku stal nierdz. (V4A)
Nr materiału 1.4571 / 1.4404 / 1.4401
Zakres zacisku (drut) 6-10 mm
Przyłączenie (drut / linka) 25-70 mm2
Typ + podkładka sprężysta
Spełnia wymagania normy DIN EN 62561-1
*) Dokładne przyporządkowanie znajduje się w certyfikacie testu.

Produkt 301099 został dodany do notatnika.

Do koszyka dodano produkt 301099.

Nr kat. 540122 UKSV 6.10 AQ16 50 V4A

GTIN / EAN 4013364379930, Nr taryfy celnej (EU): 85359000, Waga brutto: 66.00 g, Jednostka opakowaniowa: 25.00 szt.


Rysunki

Informacje dodatkowe

Łącznik KS, jednoczęściowy, stal nierdzewna (V4A)
Łącznik KS do podłączania do profili płaskich
z prowadnicą i powierzchnią na klucz płaski
Materiał śruby zaciskowej: stal nierdz. (V4A)
Materiał zacisku: stal nierdz. (V4A)
Zakres zacisku (drut): 6-10 mm
Typ: + podkładka sprężysta
Spełnia wymagania normy: DIN EN 62561-1

Producent: DEHN
Typ: UKSV 6.10 AQ16 50 V4A
Nr kat.: 540122
lub podobny.

Certyfikaty

 

Dane techniczne

Materiał śruby zaciskowej stal nierdz. (V4A)
Materiał zacisku stal nierdz. (V4A)
Nr materiału 1.4401
Zakres zacisku (drut) 6-10 mm
Przyłączenie (drut / linka) 16-50 mm2
Typ + podkładka sprężysta
Spełnia wymagania normy DIN EN 62561-1
*) Dokładne przyporządkowanie znajduje się w certyfikacie testu.

Produkt 540122 został dodany do notatnika.

Do koszyka dodano produkt 540122.

Nr kat. 540130 UKSV 6.10 AQ16 50 V4A

GTIN / EAN 4013364449275, Nr taryfy celnej (EU): 85359000, Waga brutto: 67.00 g, Jednostka opakowaniowa: 1.00 szt.


Rysunki

Informacje dodatkowe

Łącznik KS, jednoczęściowy, stal nierdzewna (V4A)
Łącznik KS do podłączania do profili płaskich
z prowadnicą i powierzchnią na klucz płaski
Materiał: stal nierdz. (V4A)
Zakres zacisku (drut): 6-10 mm
Typ: + podkładka sprężysta
Spełnia wymagania normy: DIN EN 62561-1
Certyfikat: zgodnie z VG96953
Nazwa wojskowa: VG96953T07ZD001

Producent: DEHN
Typ: UKSV 6.10 AQ16 50 V4A
Nr kat.: 540130
lub podobny.

Certyfikaty

 

Dane techniczne

Materiał stal nierdz. (V4A)
Nr materiału 1.4401
Zakres zacisku (drut) 6-10 mm
Przyłączenie (drut / linka) 16-50 mm2
Typ + podkładka sprężysta
Spełnia wymagania normy DIN EN 62561-1
Certyfikat zgodnie z VG96953
*) Dokładne przyporządkowanie znajduje się w certyfikacie testu.

Produkt 540130 został dodany do notatnika.

Do koszyka dodano produkt 540130.


Jednoczęściowy, długi, stal nierdzewna

Ze śrubą i nakrętką M10, długość 60 mm.

1 Produkt

Nr kat. 301020 KSVL 6.10 FER V2A

GTIN / EAN 4013364481541, Nr taryfy celnej (EU): 85359000, Waga brutto: 120.00 g, Jednostka opakowaniowa: 50.00 szt.


Rysunki

Informacje dodatkowe

Łącznik KS, jednoczęściowy, stal nierdzewna
Łączniki KS do podłączania drutów okrągłych
np. do profili płaskich lub
innych elementów instalacji odgromowej.
Materiał śruby zaciskowej: stal nierdzewna
Materiał zacisku: stal nierdzewna
Zakres zacisku (drut): 6-10 mm
Typ: + podkładka sprężysta
Spełnia wymagania normy: DIN EN 62561-1

Producent: DEHN
Typ: KSVL 6.10 FER V2A
Nr kat.: 301020
lub podobny.

Certyfikaty

 

Dane techniczne

Materiał śruby zaciskowej stal nierdzewna
Materiał zacisku stal nierdzewna
Zakres zacisku (drut) 6-10 mm
Przyłączenie (drut / linka) 25-70 mm2
Typ + podkładka sprężysta
Spełnia wymagania normy DIN EN 62561-1

Produkt 301020 został dodany do notatnika.

Do koszyka dodano produkt 301020.


Wykonanie ciężkie

Ze śrubą i nakrętką M12.

2 Produkty

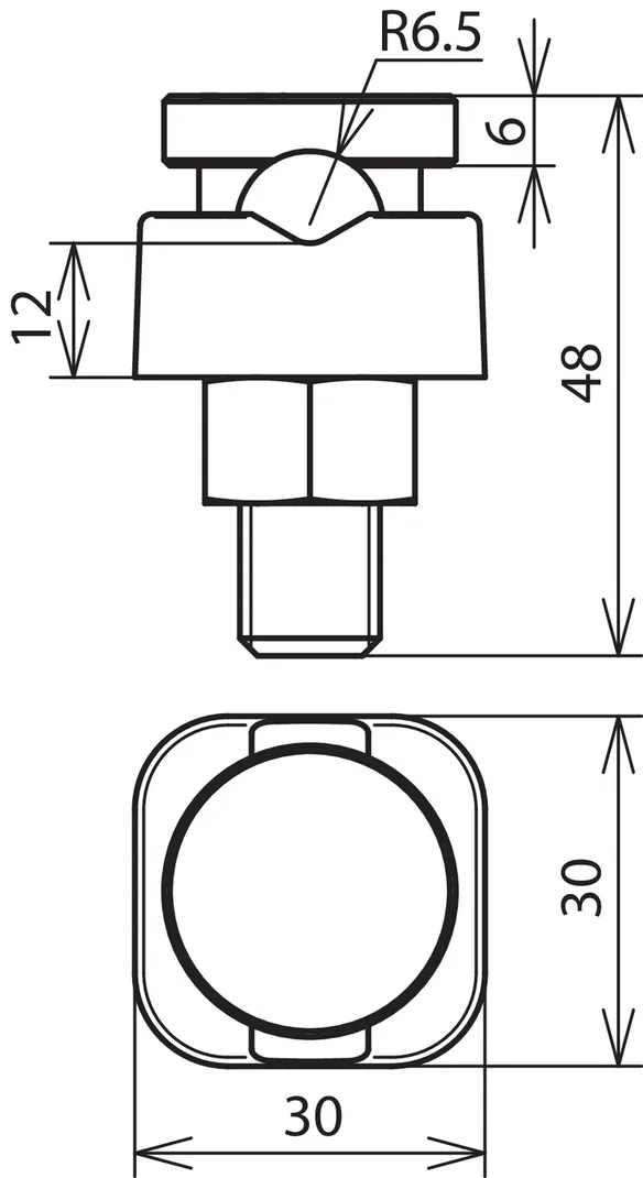
Nr kat. 300002 KSV 8.12.5 STTZN

GTIN / EAN 4013364024052, Nr taryfy celnej (EU): 85359000, Waga brutto: 118.20 g, Jednostka opakowaniowa: 25.00 szt.


Rysunki

Informacje dodatkowe

Łącznik KS, wykonanie ciężkie, stal HDG / żeliwo ciągliwe
Łącznik KS do podłączania do profili płaskich
również dla przekrojów 50-95 mm2
Materiał śruby zaciskowej: St/tZn
Materiał zacisku: żeliwo ciągliwe
Zakres zacisku (drut): 8-12,5 mm
Spełnia wymagania normy: DIN EN 62561-1

Producent: DEHN
Typ: KSV 8.12.5 STTZN
Nr kat.: 300002
lub podobny.

Certyfikaty

 

Dane techniczne

Materiał śruby zaciskowej St/tZn
Materiał zacisku żeliwo ciągliwe
Zakres zacisku (drut) 8-12,5 mm
Przyłączenie (drut / linka) 50-95 mm2
Spełnia wymagania normy DIN EN 62561-1
*) Dokładne przyporządkowanie znajduje się w certyfikacie testu.

Produkt 300002 został dodany do notatnika.

Do koszyka dodano produkt 300002.

Nr kat. 300017 KSV 8.12.5 CU

GTIN / EAN 4013364024069, Nr taryfy celnej (EU): 85359000, Waga brutto: 157.20 g, Jednostka opakowaniowa: 1.00 szt.


Rysunki

Informacje dodatkowe

Łącznik KS, wykonanie ciężkie, miedź / brąz
Łącznik KS do podłączania do profili płaskich
również dla przekrojów 50-95 mm2
Materiał śruby zaciskowej: Cu
Materiał zacisku: brąz
Zakres zacisku (drut): 8-12,5 mm
Spełnia wymagania normy: DIN EN 62561-1

Producent: DEHN
Typ: KSV 8.12.5 CU
Nr kat.: 300017
lub podobny.

Certyfikaty

 

Dane techniczne

Materiał śruby zaciskowej Cu
Materiał zacisku brąz
Zakres zacisku (drut) 8-12,5 mm
Przyłączenie (drut / linka) 50-95 mm2
Spełnia wymagania normy DIN EN 62561-1
*) Dokładne przyporządkowanie znajduje się w certyfikacie testu.

Produkt 300017 został dodany do notatnika.

Do koszyka dodano produkt 300017.


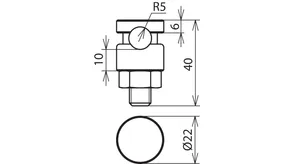
Dwuczęściowy, odległość 30 mm

Ze śrubą i nakrętką M10.

1 Produkt

Nr kat. 302010 KSV 2X7.10 STTZN

GTIN / EAN 4013364134904, Nr taryfy celnej (EU): 85359000, Waga brutto: 138.80 g, Jednostka opakowaniowa: 50.00 szt.


Rysunki

Informacje dodatkowe

Łącznik KS, dwuczęściowy, odległość 30 mm, stal HDG / odlew ciśnieniowy cynku
Łącznik KS do podłączania do profili płaskich
Materiał śruby zaciskowej: St/tZn
Materiał zacisku: odlew ciśnieniowy cynku
Zakres zacisku (drut): 7-10 mm
Spełnia wymagania normy: DIN EN 62561-1

Producent: DEHN
Typ: KSV 2X7.10 STTZN
Nr kat.: 302010
lub podobny.

Certyfikaty

 

Dane techniczne

Materiał śruby zaciskowej St/tZn
Materiał zacisku odlew ciśnieniowy cynku
Zakres zacisku (drut) 7-10 mm
Spełnia wymagania normy DIN EN 62561-1
*) Dokładne przyporządkowanie znajduje się w certyfikacie testu.

Produkt 302010 został dodany do notatnika.

Do koszyka dodano produkt 302010.


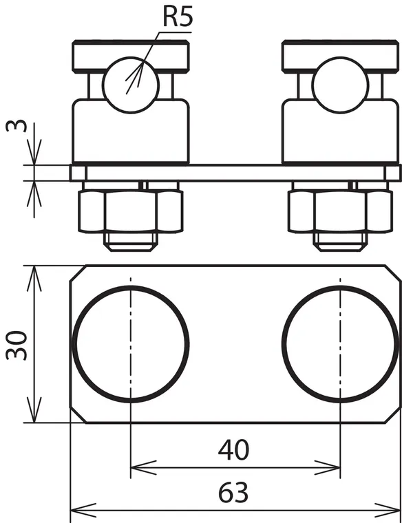
Dwuczęściowy, odległość 40 mm

Ze śrubą i nakrętką M10.

1 Produkt

Nr kat. 301229 AP 2X6.10 V2A

GTIN / EAN 4013364101562, Nr taryfy celnej (EU): 85389099, Waga brutto: 167.00 g, Jednostka opakowaniowa: 1.00 szt.


Rysunki

Informacje dodatkowe

Łącznik KS, dwuczęściowy, odległość 40 mm, stal nierdzewna
Płytka przyłączeniowa do podłączania przewodów odprowadzających o izolacji wysokonapięciowej HVI
do iglicy odgromowej
z dwoma łącznikami KS. W zestawie podkładka sprężysta
Materiał śruby zaciskowej: stal nierdzewna
Materiał zacisku: stal nierdzewna
Zakres zacisku (drut): 6-10 mm
Typ: + podkładka sprężysta
Spełnia wymagania normy: DIN EN 62561-1

Producent: DEHN
Typ: AP 2X6.10 V2A
Nr kat.: 301229
lub podobny.

Certyfikaty

 

Dane techniczne

Materiał śruby zaciskowej stal nierdzewna
Materiał zacisku stal nierdzewna
Zakres zacisku (drut) 6-10 mm
Typ + podkładka sprężysta
Spełnia wymagania normy DIN EN 62561-1
*) Dokładne przyporządkowanie znajduje się w certyfikacie testu.

Produkt 301229 został dodany do notatnika.

Do koszyka dodano produkt 301229.


Powrót na górę